

Moulded Long Spigot 45 degree Elbow
High Pressure PN25
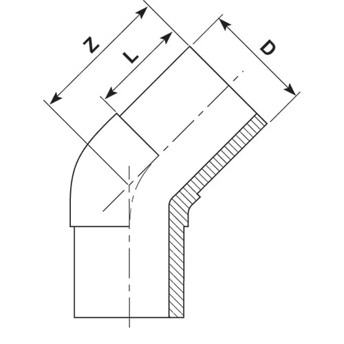
Moulded Long Spigot 45 degree Elbow are often overlooked, the 45-degree angle can be utilised in so many problem-solving applications. For example, offsetting to align two pipes, jump ups or jump overs where two pipes cross each other at the same level. Installing two forty-five-degree elbows can be used to solve a blockage or backing up issue at a 90-degree change in direction. Using two 45-degree elbows instead of one 90-degree elbow or bend will also reduce friction loss, which can reduce pressure and flow in pipelines. Being quality injection moulded gives the assurance of a full pressure rating, while the long spigots deliver the flexibility of fusion welding and joining options to pipe and other fittings. The elongated spigots, or long tails, enable many fusion options, weldable by buttwelding or electrofusion couplers and sockets. Advanced Piping stock 45-degree elbows from 20mm to 355mm in SDR11, 63-315mm IN SDR17 and PN25 20-355mm high pressure. Larger 45-degree elbows are available in sizes up to 630mm.
Compliance